欢迎来到广东鑫邦活性炭生产厂家!本公司主营各种材质规格的蜂窝活性炭、柱状活性炭、颗粒活性炭、废气处理活性炭等产品。

免费咨询热线
136-1277-7675活性炭臭氧催化氧化是目前环保领域广泛应用的一种新技术。它可以有效地去除空气中的有害气体,如挥发性有机物(VOCs)、氮氧化物(NOx)、二氧化硫(SO2)等。其中,活性炭是一种常用的吸附剂,能够吸附空气中的有害气体。臭氧是一种强氧化剂,能够氧化有机物,从而使其分解为二氧化碳和水。
活性炭臭氧催化氧化的原理是,在催化剂的作用下,臭氧分解为自由基,与空气中的有害气体发生氧化反应。这些反应产生的自由基会反应到附近的活性炭表面,进一步加速有害气体的吸附和氧化。由于催化剂的作用,臭氧的使用量可以大大降低,同时减少了产生的二次污染。
活性炭臭氧催化氧化具有操作简单、效果显著、环保无污染等优点。目前,该技术已广泛应用于印刷、涂装、汽车制造等工业领域,也在室内环境净化中得到了广泛应用。随着环保意识的日益提高,相信这一技术将在未来得到更广泛的应用。

臭氧和活性炭的反应关系十分复杂,但在绝大多数情况下,臭氧无法与活性炭发生反应。
活性炭是一种广泛应用的吸附剂,其表面上有大量的微小孔隙和活性位点,可以吸附各种有害气体、液体和颗粒物。而臭氧则是一种高度活性的氧化剂,可以氧化破坏有机物。
尽管臭氧具有强氧化性,但它无法与活性炭表面上的活性位点发生反应,因为臭氧的分子结构较为稳定,不容易被激发分解,而活性炭表面的活性位点只具有物理吸附作用。
两者结合使用时,臭氧可以被活性炭吸附,从而降低空气中臭氧浓度,同时活性炭也可以吸附有害气体和颗粒物,起到净化空气的作用。因此,在实际应用中,臭氧和活性炭通常作为一种氧化和吸附配对使用,达到空气净化的目的。

臭氧和活性炭是两种常用的空气净化材料,它们结合起来能产生更好的净化效果。臭氧是一种活性气体,可以快速消除有害物质,它的氧化剂作用可以将异味、甲醛、苯等有害物质分解为无害物质;而活性炭则具有很强的吸附能力,能吸附空气中的有害气体和异味,让空气更加清新。
臭氧和活性炭结合的好处有以下几点:
臭氧能够迅速消除空气中的有害物质,而当空气中的有害物质被分解为无害物质后,活性炭将能够更好地吸附这些无害物质,使空气更加清新。
臭氧和活性炭结合能够减少对人体的危害。臭氧对人体呼吸系统和眼睛有刺激作用,而当它和活性炭结合时,它会迅速分解为无害物质,不会导致健康问题。
臭氧和活性炭可以结合使用来增强彼此的功能。臭氧具有杀菌消毒的作用,能有效地杀死细菌和病毒,而活性炭则能吸附有害气体和异味。当两者结合起来使用时,可以达到更好的净化效果。
因此,结合臭氧和活性炭能够提高空气净化效果,减少对人体的危害,增强彼此的功能,是一种值得推广的空气净化方式。

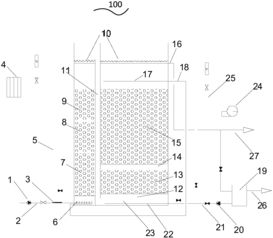
臭氧活性炭深度处理工艺是一种高效的水处理方法,它是在活性炭的基础上加入臭氧气体,利用其强氧化性能,进一步提高活性炭的吸附能力,从而达到深度净化水质的目的。
在臭氧活性炭深度处理工艺中,臭氧会将水中的有机物、异味、异色物质、重金属等有害物质进行氧化分解,而活性炭则可以吸附水中的胶体、有机物等物质,同时可去除微量物质,提高水质的透明度。臭氧活性炭深度处理工艺还具有一定的杀菌、消毒效果,用于饮用水处理时,能够有效防止水源污染和传播疾病。
臭氧活性炭深度处理工艺的优点在于:功效明显,去除率高;速度快,可达到实时处理;操作简便,只需要不断补充活性炭和臭氧气体即可;同时,臭氧气体对环境没有任何污染,是一种非常环保的水处理方式。
臭氧活性炭深度处理工艺是一种非常优秀的水处理技术,可以广泛应用于市政污水处理、工业废水处理、生活饮用水处理等领域,为水质净化做出了积极贡献。
广东鑫邦活性炭有限公司致力专注于柱状活性炭、颗粒活性炭、粉状活性炭、蜂窝活性炭生产与批发;广泛应用在:垃圾焚烧厂、黄金提取、工业废水处理、污水处理、废气处理、空气净化、喷漆烤漆房等 Copyright © 2002-2021 鑫邦活性炭厂家 版权所有 粤ICP备2021087261号