欢迎来到广东鑫邦活性炭生产厂家!本公司主营各种材质规格的蜂窝活性炭、柱状活性炭、颗粒活性炭、废气处理活性炭等产品。

免费咨询热线
136-1277-7675厌氧池活性炭除臭装置是一种有效降低厌氧环境下的臭味的技术。该装置利用活性炭对污水中的有机物进行吸附,从而达到除臭的效果。在厌氧池中,由于缺氧环境和细菌的代谢,会产生大量的硫化物和氨气等有害气体,给周围环境带来恶臭和污染。采用厌氧池活性炭除臭装置能够有效地去除这些有害气体,保持厌氧池环境的清洁。
厌氧池活性炭除臭装置的使用具有一定的经济效益和社会效益。经济效益表现在:可将废水中的有毒物质除去,保护环境,节约后续的治理成本;同时可以消除产生的臭味,减轻对周围居民的影响,提高企业的社会形象和荣誉。
厌氧池活性炭除臭装置是一种有效的除臭技术,具有经济效益和社会效益。该技术在今后的废水处理中将发挥越来越重要的作用。

臭氧活性炭深度处理工艺是一种高效、环保的水处理技术。该工艺采用了臭氧气体和活性炭的协同作用,能够降解有机物、去除异色异味、杀灭细菌等多种水质问题。
该工艺采用臭氧气体氧化的方式降解水中的有机物,这是传统水处理工艺无法实现的。臭氧可以将有机物分解为二氧化碳和水等无毒物质,不会产生二次污染。
该工艺利用活性炭的吸附性能吸附水中的异色异味物质和部分有机物质,提高了水的透明度和口感。同时,活性炭中的微生物也能够吸附并杀灭水中细菌,对于减少水中微生物的污染起到了很好的作用。
综上所述,臭氧活性炭深度处理工艺在水处理领域有着广泛的应用。该技术具有节能、环保、高效等优点,可以在水厂、污水处理厂、工业生产场所等多个领域得到应用。

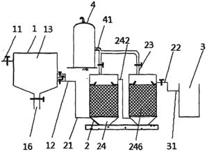
臭氧催化氧化池是一种用于废气处理的设备。它的主要作用是将排放的有毒有害气体在特定条件下经过臭氧催化反应进行降解和去除,达到净化环境的目的。
臭氧催化氧化池的工作原理是通过臭氧氧化技术强化了传统的催化氧化技术,它主要利用活性物质臭氧的催化作用来降解废气中的有害物质。
通过臭氧催化氧化池的处理,废气中的各类有害物质(如二氧化硫、硫化氢、挥发性有机物等)会吸附到活性炭孔道内,此时往臭氧催化反应室进行氧化降解,最后转化成无害物质。
臭氧催化氧化池的优点在于,它能高效降解各类有害气体,同时具有安装方便、使用维护简单、能源消耗低等优点,还能适应各种不同的废气处理要求。
总体来说,臭氧催化氧化池的作用是通过臭氧技术对废气进行强化的催化氧化处理,达到有效降解和净化废气的目的,对保障环境和人类健康具有重要的作用。

臭氧催化氧化处理废水是一种高效、环保的废水处理技术。该技术通过将臭氧气体引入废水中,利用臭氧分子具有高度的氧化还原能力,可以分解有机物质、去除污染物和微生物等,从而达到净化废水的目的。
这种技术不仅可以降低污染水体的COD、BOD、NH3-N等指标,还可以消除水中异色物质、臭味、杀死水中病原体等。相较于传统的废水处理技术,它有着更高的处理效率和更广泛的适用范围,并且不会产生二次污染。
值得注意的是,在臭氧催化氧化处理废水过程中,操作者需要仔细控制臭氧的投入量和反应时间,避免过量的臭氧气体会对环境造成影响。此外,还要筛选出合适的催化剂,提高催化效率,降低废水处理的成本。
综上所述,臭氧催化氧化处理废水是一项高效且友好的废水处理技术,它可以有效地净化废水、提升水质,并有望在未来的环保领域中得到更广泛的应用。
广东鑫邦活性炭有限公司致力专注于柱状活性炭、颗粒活性炭、粉状活性炭、蜂窝活性炭生产与批发;广泛应用在:垃圾焚烧厂、黄金提取、工业废水处理、污水处理、废气处理、空气净化、喷漆烤漆房等 Copyright © 2002-2021 鑫邦活性炭厂家 版权所有 粤ICP备2021087261号