欢迎来到广东鑫邦活性炭生产厂家!本公司主营各种材质规格的蜂窝活性炭、柱状活性炭、颗粒活性炭、废气处理活性炭等产品。

免费咨询热线
136-1277-7675活性炭是目前应用最广泛的一种吸附材料,其主要特点是高比表面积、孔径分布范围广、化学惰性和良好的吸附性能。采用活性炭吸附工艺,可以有效地去除空气中的有害气体、异味和其他污染物。
活性炭吸附工艺的基本原理是将空气通过活性炭床,在活性炭表面形成一层吸附膜,将有害气体、异味等污染物吸附并固定在其中。在吸附过程中,由于活性炭的高比表面积和孔径分布范围广,使其吸附容量较大,可以达到较好的净化效果。此外,活性炭还具有化学惰性和耐腐蚀性等特点,可以在一定程度上减少对环境和健康的危害。
采用活性炭吸附工艺的应用领域十分广泛,常见的有建筑空气净化、工业废气治理、污水净化、饮用水处理等。对于建筑空气净化而言,使用活性炭过滤器可以去除空气中的异味和有害气体,提高室内空气质量,减少疾病传播的风险。在工业生产过程中,使用活性炭床可以有效降低废气排放浓度,达到环保要求。在污水处理中,活性炭的吸附作用可以去除不溶性有机物,提高处理效果。在饮用水处理中,活性炭可以去除水中异味、色度、有机物等杂质,使水质更加纯净。
综上所述,采用活性炭吸附工艺可以达到较好的净化效果,在环保和健康方面起到积极的作用。

活性炭作为一种重要的吸附材料,在去除水、空气中的污染物等方面具有广泛的应用。而活性炭的吸附容量则是衡量其吸附性能的重要参数之一。
活性炭的吸附容量受到许多因素的影响,例如其物理化学性质、孔结构和表面化学性质等。一般来说,活性炭的吸附容量通常在0.2~0.5g/g之间。这取决于活性炭的孔隙结构大小、分布及其扩散速度。
此外,吸附容量还与受污染物的特性有关。相对较大分子量、较低活性的物质通常能够被更有效地吸附。相反,相对较小分子量、高活性的物质则需要更多的活性炭来达到相同的吸附效果。
活性炭的吸附容量是一个综合考虑各种因素的参数。在实际应用中,需要根据具体污染物的特性来确定合适的活性炭种类和用量。

一般活性炭是一种常用的吸附材料,能吸附多种有机和无机物质。在使用过程中,由于吸附容量的限制,活性炭会逐渐饱和,需要进行脱附处理,以恢复其吸附能力。
一般活性炭的吸附脱附次数并不是无限的。经过多次吸附和脱附后,其吸附性能会逐渐降低,直至失去吸附能力。这主要是由于吸附和脱附过程中,活性炭颗粒表面的孔隙会逐渐被堵塞或损坏,导致其吸附能力下降。
因此,为了延长一般活性炭的使用寿命,减少浪费和成本,建议在使用中避免过度使用、过度脱附,同时要注意进行适当的烘干和再生操作,可使用空气、水蒸气或高温等方法清洁孔隙,提高活性炭的吸附能力。此外,当活性炭的吸附效果达到饱和时,应及时更换,以保证处理水质的效果和质量,延长活性炭的使用寿命。

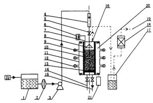
活性炭吸附工艺流程图是一种重要的处理污水和废气的方法,该工艺利用了活性炭的吸附性能来去除有害物质。下面是它的主要流程图:
污水或废气会进入处理系统。接着,处理系统中的过滤器会将较大的颗粒物去除,以保护后面的活性炭。然后,经过预处理后的污水或废气进入活性炭吸附器,在其中与活性炭接触,物质被吸附,清洁的水或气体则从另一端排出。
在活性炭吸附饱和后,需要对其进行再生,以保持其吸附性能。再生主要通过两种方法实现:热解和蒸汽脱附。在热解方法中,活性炭会暴露在高温下,从而去除吸附的有害物质。而在蒸汽脱附方法中,活性炭暴露在高压的蒸汽中,从而去除吸附的有害物质。
活性炭吸附工艺流程图是一种成熟、可靠的污染处理技术,尤其对于工业废气和污水处理,其效果显著。
广东鑫邦活性炭有限公司致力专注于柱状活性炭、颗粒活性炭、粉状活性炭、蜂窝活性炭生产与批发;广泛应用在:垃圾焚烧厂、黄金提取、工业废水处理、污水处理、废气处理、空气净化、喷漆烤漆房等 Copyright © 2002-2021 鑫邦活性炭厂家 版权所有 粤ICP备2021087261号