欢迎来到广东鑫邦活性炭生产厂家!本公司主营各种材质规格的蜂窝活性炭、柱状活性炭、颗粒活性炭、废气处理活性炭等产品。

免费咨询热线
136-1277-7675废水使用活性炭方法
随着现代工业的发展,废水排放问题已经成为了一个亟待解决的问题。废水中的有害物质对人类的生态环境造成了巨大的影响。为了保护环境,我们可以采用一些废水处理方法。其中,使用活性炭方法是一种有效的处理方法之一。
活性炭是指一种有极高孔隙度和极大比表面积(可达到1000平方米/克以上)的吸附剂,其特别之处在于其内部孔隙的大小非常均匀,且内部结构复杂。这些特性决定了活性炭可以吸附大量的废水中的有害物质。
使用活性炭方法的废水处理过程相对简单,只需要将活性炭加入废水中,让其在水中浸泡,并吸收其中的有害物质。随着时间的推移,活性炭的孔隙会逐渐饱和,需要更换或再生。通过循环使用活性炭,并定期更换或再生,可以达到废水的净化处理目的。
使用活性炭方法的废水处理有着多种优点。市场上的活性炭种类繁多,成本适中,易于获取。活性炭具有强吸附性能,极大地提高了处理效率。使用活性炭方法处理废水后,退役的活性炭可以用作肥料,具有可循环利用的优点,降低了成本。
综上所述,活性炭方法是一种简单、易用、成本适中、处理效果良好的废水处理方法,其应用前景广阔。

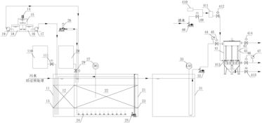
活性炭是一种可以吸附污染物的物质,因此可用于处理废水。其处理废水的工艺流程主要包括以下几个步骤。
将要处理的废水通过网格过滤,去除大颗粒物。然后,将废水通过混合池,与活性炭混合,并加入适量的氯化铁等混凝剂,使废水中的污染物更易于被活性炭吸附。混合好的废水再通过沉淀池,使混凝后的污染物沉淀到底部。接下来,将沉淀后的水从上部分取出,再通过活性炭过滤池,使其中的残余污染物被吸附到活性炭表面。将经过处理的水通过消毒池消毒后排放。
活性炭处理废水的工艺流程简单明了,此方法处理后的水质纯净,对环境无污染,并可回收利用。

活性炭吸附法是一种常用的水处理技术,可用于去除水中的污染物质。活性炭吸附法常用于处理含有化学品、污染物和有害物质等废水。
活性炭的分子结构是多孔的,因此能够吸附一系列物质。它可以通过物理吸附或化学吸附来吸附污染物。在活性炭吸附法处理废水过程中,污染物会被吸附到活性炭颗粒的表面,使其从水中分离出来。
活性炭的吸附性能受多种因素影响,如其表面积、孔径分布、表面化学性质、物质浓度、温度和pH值等。因此,在活性炭吸附法处理废水时需要选择合适的活性炭材料和处理条件,以达到最佳吸附效果。
相对于传统的废水处理方法,活性炭吸附法有许多优点,如处理效率高、对环境友好、操作简便、处理成本低等。因此,它被广泛应用于工业和民用废水处理中。
活性炭吸附法是一种有效的废水处理技术,未来在环境保护和资源回收利用方面将发挥更为重要的作用。

活性炭是一种有效的水质净化材料,通过吸附作用可以去除水中的污染物,提高水质。使用活性炭净化水也是一种环保、经济的方法。
怎样用活性炭净化水呢?首先需要准备一些活性炭和一个过滤器。活性炭的颗粒大小一般在0.5-1毫米左右,可以在市场上购买到。过滤器可以选择适合自己的类型,例如家用滤水壶、净水器、自制滤水器等。
接下来的步骤非常简单。将活性炭用清水洗净,放入过滤器中。把要净化的水倒进过滤器,让水自然滴下即可。一般来说,10克活性炭可以处理1升水的水质问题,根据实际情况适量改变活性炭用量。
活性炭一段时间后会饱和,需要更换。根据使用情况,一般几个月到一年需要更换一次。
活性炭净化水不仅可以去除水中有害物质,同时也能保留水中有益物质,提高水质。希望大家尝试一下用活性炭净化水,保护水资源,改善家庭用水环境。
广东鑫邦活性炭有限公司致力专注于柱状活性炭、颗粒活性炭、粉状活性炭、蜂窝活性炭生产与批发;广泛应用在:垃圾焚烧厂、黄金提取、工业废水处理、污水处理、废气处理、空气净化、喷漆烤漆房等 Copyright © 2002-2021 鑫邦活性炭厂家 版权所有 粤ICP备2021087261号