欢迎来到广东鑫邦活性炭生产厂家!本公司主营各种材质规格的蜂窝活性炭、柱状活性炭、颗粒活性炭、废气处理活性炭等产品。

免费咨询热线
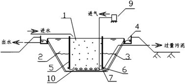
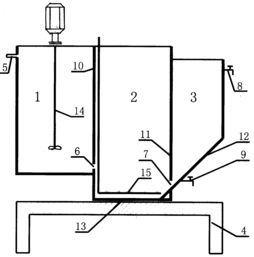
136-1277-7675湖南污水处理专用活性炭是一种高效的污水处理材料。它是由天然物质如木炭、石炭等制成,具有大孔、中孔和微孔,能够吸附含有有机物质和重金属离子等污染物的水分子,使水得以净化。常用于污水处理厂的深度处理和净化,可有效减少水中的污染物,提高水质。
湖南污水处理专用活性炭不仅净化水质效果好,同时具有抗压强度高,不易磨损,寿命长的特点。其加工技术先进,质量稳定可靠,成为市场上备受青睐的污水处理材料之一。
目前,湖南污水处理专用活性炭的市场需求不断增长。随着环保意识的不断提高和国家环保政策的不断加强,污水治理行业的发展前景广阔。在此背景下,湖南污水处理专用活性炭的市场前景也将愈加广阔。

活性炭是一种有机物质,由于其具有良好的吸附性能,因此在污水处理中被广泛应用。活性炭可以吸附污水中的有害物质和异味,使得污水更清洁、更易处理。
活性炭的微孔结构可以吸附污水中的有机物、杂质和色素,进而净化水质。例如,活性炭可以有效吸附重金属、农药等有害物质,使得污水的有害成分得到有效去除。此外,活性炭还可以吸附污水中的异味物质,从而净化水质。
活性炭还可以调节污水中的pH值。在污水处理过程中,如果pH值偏低或偏高,都会对处理效果产生不利影响。通过加入适量的活性炭,可以调节污水的pH值,保证处理过程的顺利进行。
活性炭对污水处理过程中的微生物活动也有一定的影响。活性炭可以作为生物载体,提供微生物生长的基础,从而促进生物降解过程的进行。
综上所述,活性炭在污水处理中的作用是非常重要的。通过加入适量的活性炭,可以有效净化水质、调节pH值并促进微生物降解过程的进行,从而实现对污水的有效处理。

湖南工业污水处理收费标准是近年来湖南省政府颁布的一项重要措施,旨在加强对污水处理行业的管理,促进资源的合理利用,以及对环境保护和可持续发展做出更积极的贡献。
根据湖南省污水处理收费标准,企业的收费按照其污水排放的性质、浓度、工艺、处理工艺和技术水平等因素进行计算。其中,收费项目主要包括监管费、准许排污费和超标排放费等。而费用的计算公式则由湖南省环保部门根据相关法律法规和政策制定,确保收费的公平、透明和合理。
通过湖南工业污水处理收费标准,良性竞争的市场环境得以建立,污水处理企业的技术水平和管理水平也得以提高。同时,大幅度提高污水处理费用,也让企业自觉遵守国家的环境保护法规,降低排放污染物的浓度,大大改进了湖南省环境的整体质量。
湖南工业污水处理收费标准作为环保中的一环,不仅是对环境保护工作的一项有效管理措施,更是对企业自身的监管机制和责任督促方式的一种重要体现。这项措施的出台和实施,将进一步推动湖南省的可持续发展,保护好我们美丽的湖南。

活性炭是一种常用于水处理的材料,能够有效地去除水中的污染物。通常情况下,活性炭的处理效果与使用的量有一定关系。对于一吨活性炭而言,可以处理的污水量基本取决于污水中污染物的种类和浓度。
以通常的工业废水为例,一吨活性炭通常能够处理100到150吨废水。当污染物浓度较高时,处理量会相应较低,因为活性炭的饱和吸附量有限。此外,不同种类的活性炭对不同的污染物也有不同的去除效果,因此在选择活性炭时需要根据实际情况进行选择。
因此,需要根据实际情况确定使用的活性炭量和处理量,以保证处理效果同时避免浪费。此外,在使用活性炭处理污水时需要注意,需要定期更换活性炭,否则过饱和吸附会导致处理效果下降。
广东鑫邦活性炭有限公司致力专注于柱状活性炭、颗粒活性炭、粉状活性炭、蜂窝活性炭生产与批发;广泛应用在:垃圾焚烧厂、黄金提取、工业废水处理、污水处理、废气处理、空气净化、喷漆烤漆房等 Copyright © 2002-2021 鑫邦活性炭厂家 版权所有 粤ICP备2021087261号